Выход из строя
Износ – это основная причина поломки планетарной передачи, которая происходит в основном из-за плохой смазки. Изношенные передачи имеют в зацеплениях увеличенные зазоры, что приводит к усилению шума, вибрации и в конечном итоге уменьшению прочности зуба.
Заедание – поломка высокоскоростных передач. Происходит заедание, так как масленая плёнка выдавливается между зубьями при высоких скоростях.
Излом – вызывается напряжением изгиба. Излом может разрушить вал, подшипники и весь механизм.
Планетарный редуктор применяется там, где нужна точность среднего уровня, и отсутствует необходимость в полном вале. Основная отрасль использования планетарного редуктора – машиностроение, кроме того они применяются в медицинской технике и измерительной аппаратуре.
Чтобы или сделать заявку, нажмите на кнопку ниже:
Достоинства и недостатки
Широкая область применения прежде всего связана с основными преимуществами механизма. Многие свойства такие же, как у цилиндрического варианта исполнения, так как в обоих случаях применяются шестерни. Преимущества следующие:
- Компактность. Многие модели характеризуются небольшими размерами, за счет чего упрощается установка. Небольшие габаритные размеры также позволяют создавать механизмы с небольшой массой. За счет этого существенно повышается эффективность рассматриваемого устройства.
- Сниженный уровень шума. Это свойство достигается за счет установки конических колес с косым зубом. За счет применения большого количества зубьев также обеспечивается точность хода основных элементов. Даже при большой нагрузке и скорости вращения основных элементов сильного гула не возникает, что и стало причиной широкого распространения планетарных редукторов.
- Малая нагрузка, оказываемая на опоры. Обычные редуктора характеризуются тем, что нагрузка оказывается на вал, который со временем может сорвать. Также нагрузка оказывает влияние на подшипники, повышая степень их износа. Со временем все приведенные выше причины приводят к необходимости выполнения обслуживания.
- Снижается нагрузка на зубья. Это достигается за счет ее равномерного распределения и большого количества задействованных зубьев. Часто встречается проблема, связанная с истиранием рабочей части зубьев. За счет этого они начинают не плотно прилегать друг к другу, последствия подобного явления заключается в повышенном износе и появлении шума.
- Обеспечивается равномерное разбрасывание масла на момент работы. Как и при функционировании любого другого редуктора, в рассматриваемом случае большое значение имеет степень смазки рабочей поверхности.
- Длительный эксплуатационный срок. Особенности расположения сателлитов приводит к взаимному компенсированию оказываемой силы.
- Повышенной передаточное отношение. Этот показатель считается основным. Передаточное соотношение может варьировать в достаточно большом диапазоне.
В целом можно сказать, что есть довольно большое количество причин, по которым применяется именно подобный механизм для передачи вращения. КПД планетарного редуктора относительно невысокое, что можно назвать существенным недостатком подобного варианта исполнения. Кроме этого, коэффициент полезного действия существенно падает при непосредственном использовании устройства, так как со временем оно изнашивается.
Незначительное отклонение в размерах становится причиной уменьшения основных свойств, а также появления серьезных неисправностей.
Кинематические схемы планетарных редукторов.
Планетарные передачи с одновенцовыми (рис. 1 ) и двухвенцовыми (рис. 3) сателлитами, а также многоступенчатые передачи (рис. 2) имеют средние передаточные числа (2…30) и высокий КПД (0,9…0,97).
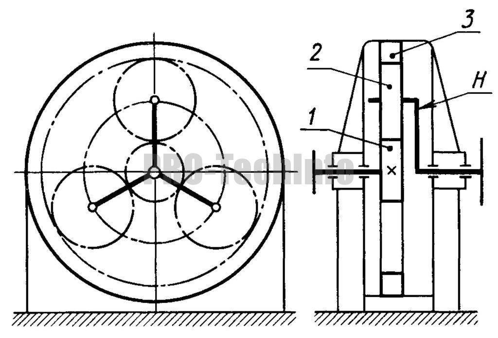
Одноступенчатый планетарный редуктор.

Рис.1
Валы расположены параллельно установочной плоскости корпуса.
Центральное колесо 1 — ведущее, водило Н — ведомое. Центральное колесо 3 закреплено в корпусе.
Передаточное число
Ведущий и ведомый валы вращаются в одну сторону.
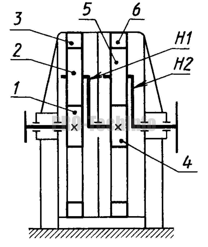
Двухступенчатый планетарный редуктор. Схема 1.

Рис.2
Валы расположены параллельно установочной плоскости корпуса.
Центральное колесо 1 — ведущее, водило Н2 — ведомое. Центральные колеса 3 и 6 закреплены в корпусе.
Передаточное число
Ведущий и ведомый валы вращаются в одну сторону.
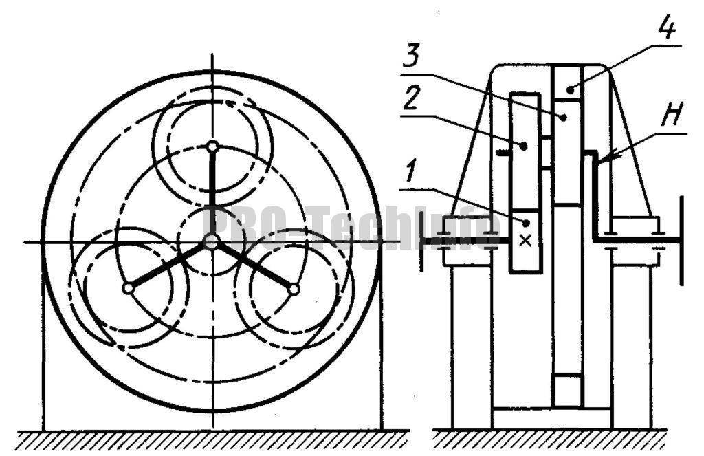
Двухступенчатый планетарный редуктор. Схема 2.

Рис.3
Валы расположены параллельно установочной плоскости корпуса.
Центральное колесо 1 — ведущее, водило Н — ведомое. Центральное колесо 4 закреплено в корпусе. Колеса 2 и 3 жестко соединены между собой.
Передаточное число
Ведущий и ведомый валы вращаются в одну сторону.
Двухступенчатый планетарный редуктор. Схема 3.

Рис. 4
Валы расположены параллельно установочной плоскости корпуса.
Центральное колесо 1 — ведущее, центральное колесо 5 — ведомое. Центральное колесо 3 закреплено в корпусе, колеса 2 и 4 жестко соединены между собой.
Передаточное число
Ведущий и ведомый валы вращаются при D5<D3 в одну сторону, при D5>D3 — в противоположные стороны.
Планетарные передачи с тремя центральными колесами (рис. 4) имеют большие передаточные числа (100… 200). С увеличением передаточного числа КПД резко снижается.
Двухступенчатый планетарный редуктор с кривошипом.
Планетарные передачи с кривошипами (рис. 5,6) имеют большие передаточные числа (100…200), но сравнительно низкие КПД.

Рис. 5
Валы расположены параллельно установочной плоскости корпуса.
Водило Н — ведущее, центральное колесо 4 — ведомое. Центральное колесо 2 закреплено в корпусе, колеса 1 и 3 жестко соединены между собой.
Передаточное число
Ведущий и ведомый валы вращаются при D3<D2 в одну сторону, при D3>D2 — в противоположные стороны.
Одноступенчатый планетарный редуктор с кривошипом.

Рис. 6
Валы расположены параллельно установочной плоскости корпуса.
Водило Н — ведущее, вал с кривошипами К — ведомый. Центральное колесо 2 закреплено в корпусе.
Передаточное число
Ведущий и ведомый валы вращаются в разные стороны.
Обслуживание и ремонт
Сложность рассматриваемого механизма определяет то, что возникает необходимость в своевременном обслуживании и проведении ремонта
Для начала уделим внимание тому, каким образом проводится расчет планетарного редуктора. Среди особенностей этого процесса отметим следующие моменты:
Определяется требуемое число передаточных ступеней. Для этого применяются специальные формулы. Определяется число зубьев и расчет сателлитов. Зубчатые колеса могут иметь самое различное число зубьев. В рассматриваемом случае их число довольно много, что является определяющим фактором
Уделяется внимание выбору наиболее подходящего материала, так как от его свойств зависят и основные эксплуатационные характеристики устройства. Определяется показатель межосевого расстояния
Делается проверочный расчет. Он позволяет исключить вероятность допущения ошибок на первоначальном этапе проектирования. Выбираются подшипники. Они предназначены для обеспечения плавного вращения основных элементов. При выборе подшипника уделяется внимание тому, на какую нагрузку они рассчитаны. Кроме этого, не рекомендуется использовать этот элемент без смазки, так как это приводит к существенному износу. Определяется оптимальная толщина колеса. Слишком большой показатель становится причиной увеличения веса конструкции, а также расходов. Проводится вычисление того, где именно должны быть расположены оси шестерен. Это проводится с учетом размеров зубчатых колес и некоторых других моментов. Как правило, в качестве основы применяется чертеж, который можно скачать из интернета. Самостоятельно разработать проект по изготовления планетарного редуктора достаточно сложно, так как нужно обладать навыками инженера для проведения соответствующих расчетов и проектирования.
Изготовить самостоятельно рассматриваемую конструкцию достаточно сложно, как и провести ремонт планетарных редукторов. Среди особенностей этой процедуры отметим следующее:
- Процедура достаточно сложна, так как механизм состоит из большого количества различных элементов. Примером можно назвать то, что сразу после разбора все иголки могут высыпаться практически моментально.
- Многие специалисты рекомендуют доверять рассматриваемую работу исключительно профессионалам, так как допущенные ошибки становятся причиной быстрого износа и выхода из строя механизма.
- Ремонт зачастую предусматривает замену шестерен, которые со временем изнашиваются. Примером можно истирание зубьев, изменение размеров посадочного гнезда и многие другие дефекты. Самостоятельно изготовить подобные изделия практически невозможно, так как для этого требуется специальное оборудование.
Чаще всего обслуживание предусматривает добавление масла. Смазка планетарного редуктора позволяет существенно продлить срок службы конструкции, так как соприкосновение и трение металла становится причиной его истирания. Рекомендуется смазывать механизм периодически, так как масло выступает еще в качестве охлаждения. В продаже встречаются специальные смазывающие вещества, которые характеризуются определенными эксплуатационными качествами.
Сегодня ремонтом редукторов занимаются компании, которые специализируются на предоставлении соответствующих услуг. Признаком того, что механизм начинает выходить из строя становится появление сильного шума, вибрации, рывков, нагрев и многое другое. Со временем процесс износа существенно ускоряется, так как металл, находящийся в масле попадает в зацепление шестерен. В большинстве случаев ремонт предусматривает замену всех элементов на новые.

В заключение отметим, что планетарный редуктор характеризуется весьма привлекательными свойствами. Примером можно назвать отсутствие большого количества крепежных элементов, а также равномерное распространение нагрузки. Как ранее было отмечено, редуктор применяется при создании различных узлов транспортных средств.
Источник
Достоинства и недостатки
Широкая область применения прежде всего связана с основными преимуществами механизма. Многие свойства такие же, как у цилиндрического варианта исполнения, так как в обоих случаях применяются шестерни. Преимущества следующие:
- Компактность. Многие модели характеризуются небольшими размерами, за счет чего упрощается установка. Небольшие габаритные размеры также позволяют создавать механизмы с небольшой массой. За счет этого существенно повышается эффективность рассматриваемого устройства.
- Сниженный уровень шума. Это свойство достигается за счет установки конических колес с косым зубом. За счет применения большого количества зубьев также обеспечивается точность хода основных элементов. Даже при большой нагрузке и скорости вращения основных элементов сильного гула не возникает, что и стало причиной широкого распространения планетарных редукторов.
- Малая нагрузка, оказываемая на опоры. Обычные редуктора характеризуются тем, что нагрузка оказывается на вал, который со временем может сорвать. Также нагрузка оказывает влияние на подшипники, повышая степень их износа. Со временем все приведенные выше причины приводят к необходимости выполнения обслуживания.
- Снижается нагрузка на зубья. Это достигается за счет ее равномерного распределения и большого количества задействованных зубьев. Часто встречается проблема, связанная с истиранием рабочей части зубьев. За счет этого они начинают не плотно прилегать друг к другу, последствия подобного явления заключается в повышенном износе и появлении шума.
- Обеспечивается равномерное разбрасывание масла на момент работы. Как и при функционировании любого другого редуктора, в рассматриваемом случае большое значение имеет степень смазки рабочей поверхности.
- Длительный эксплуатационный срок. Особенности расположения сателлитов приводит к взаимному компенсированию оказываемой силы.
- Повышенной передаточное отношение. Этот показатель считается основным. Передаточное соотношение может варьировать в достаточно большом диапазоне.
В целом можно сказать, что есть довольно большое количество причин, по которым применяется именно подобный механизм для передачи вращения. КПД планетарного редуктора относительно невысокое, что можно назвать существенным недостатком подобного варианта исполнения. Кроме этого, коэффициент полезного действия существенно падает при непосредственном использовании устройства, так как со временем оно изнашивается.
Незначительное отклонение в размерах становится причиной уменьшения основных свойств, а также появления серьезных неисправностей.
[править] Устройство
Планетарная передача
Основные элементы планетарной передачи:
- Солнечная шестерня (англ.sun gear ) — находится в центре.
- Водило (англ.carrier unit ) — жёстко фиксирует друг относительно друга оси несколькихпланетарных шестерён («сателлитов») одинакового размера (англ.planetary gears ), находящихся в зацеплении с солнечной шестерней.
- Кольцевая шестерня (англ.ring gear ) — внешнее зубчатое колесо, имеющее внутреннее зацепление с планетарными шестернями.
При использовании планетарной передачи в качестве редуктора один из элементов фиксируется неподвижно, второй — используется как ведущий (замыкается на звезду, приводимую цепью), а третий — в качестве ведомого (замыкается на корпус втулки). Соединение элементов осуществляется с помощью собачек или роллерного сцепления, уменьшающего шумность. Таким образом, передаточное отношение будет зависеть от количества зубьев каждого компонента, а также того, какой элемент закреплён. Увеличивая количество планетарных передач, можно увеличивать количество скоростей у втулки.
3-скоростная втулка
Взрыв-схема 3-скоростной планетарной втулки (вид сзади): 3 — водило с сателлитами, 4 — кольцевая шестерня, 6 — ось и солнечная шестерня, 7 — привод с шлицами для звездочки
Принцип работы 3-скоростной планетарной втулки, включающей в себя одну планетарную передачу:
- Солнечная шестерня — это ось, она закреплена неподвижно на раме.
- Первая передача (отношение 0.733). Ведомая звезда с помощью привода соединена собачками с кольцевой шестерней. Водило соединено собачками с корпусом втулки. Кольцевая шестерня вращает водило через сателлиты, при этом водило (и корпус втулки) вращается медленнее, чем кольцевая шестерня (и звезда).
- Вторая передача (отношение 1.0). Под действием исполнительного механизма муфта, сжимая возвратную пружину, выдвигает собачки на кольцевой шестерне, и она зацепляется с корпусом втулки. Вращение передается непосредственно с звезды на кольцевую шестерню и далее на корпус втулки — прямая передача. Водило вращается с той же скоростью, что и на первой передаче, но корпус втулки вращается быстрее, поэтому собачки водила стрекочут по корпусу и не оказывают влияния на работу механизма.
- Третья передача (отношение 1.364). Исполнительный механизм толкает муфту дальше, она входит своими шлицами в зацепление с водилом. Тем самым, водило соединяется с ведомой звездой. Собачки на кольцевой шестерне по-прежнему зацеплены с корпусом втулки, но водило теперь вращается в противоположную сторону, ускоряя вращение корпуса втулки по сравнению с ведомой звездой. Собачки стрекочут между водилом и корпусом, а также между приводом и кольцевой шестерней.
Многоскоростные втулки
Взрыв-схема 8-скоростной планетарной втулки (вид сзади): 3 — сдвоенная планетарная передача в сборе, 4 — водило в сборе, 5 — кольцевая шестерня, 8 — ось и солнечная шестерня в сборе, 9 — муфта, 10 — возвратная пружина, 11 — привод с шлицами для звездочки
При увеличении количества планетарных передач, включаемых в различных сочетаниях, можно увеличивать число передаточных отношений втулки (с соответствующим увеличением сложности и цены).
8-скоростная втулка имеет две планетарных передачи. Первая из них (подключается муфтой на 1-4 скоростях) — замедляет вращение втулки на фиксированную величину. Она состоит из 1 кольцевой шестерни, 1 солнечной шестерни и 1 набора сателлитов. Вторая планетарная передача ускоряет движение втулки. Она состоит из 1 кольцевой шестерни, 3 солнечных шестерней (далее — СШ № 2, 3, 4) и 3 наборов сателлитов. При переключении передач, различные солнечные шестерни подключаются собачками, расположенными на оси, и меняют передаточное отношение второй планетарной передачи. 5-я передача втулки — прямая, вращение передается с звездочки на корпус без преобразования потока мощности.
Использование планетарных передач (далее — ПП1 и ПП2) втулки на различных скоростях:
- ПП1 замедляет, ПП2 не используется.
- ПП1 замедляет, ПП2 ускоряет с СШ2.
- ПП1 замедляет, ПП2 ускоряет с СШ3.
- ПП1 замедляет, ПП2 ускоряет с СШ4.
- Прямая передача
- ПП1 не используется, ПП2 ускоряет с СШ2.
- ПП1 не используется, ПП2 ускоряет с СШ3.
- ПП1 не используется, ПП2 ускоряет с СШ4.
Взрыв-схема 11-скоростной планетарной втулки (вид сзади): 7 — водило № 3 в сборе, 8 — солнечная шестерня № 4, 10 — водило № 2 в сборе, 11 — солнечная шестерня № 2, 12 — водило № 1 в сборе, 14 — ось и солнечная шестерня № 1 в сборе, 15 — муфта, 17 — привод с шлицами для звёздочки
юбилей Sturmey-Archer
11-скоростная втулка имеет уже 3 планетарных передачи. Она не имеет прямой передачи, поток мощности преобразуется минимум 1 раз на всех передачах.
Планетарные редукторы в машиностроении
Широкое распространение редуктора, которые имеют устройство данного типа получили в ведущих мостах автомобилей и в автоматических коробках переключения передач. Колесный редуктор можно встретить в мостах таких автомобилей, как: МАЗ, Икарус, в некоторых троллейбусах, тракторах Т-150К, К-700. Этот колесный редуктор в мостах передает крутящий момент к ступицам колес от полуосей. Также они распространены в передаче бортового типа. Такое применение в бортовой передаче позволило существенно уменьшить как расчетный, так и практический диаметр основной передачи. Уменьшение диаметра отразилось повышенным просветом автомобиля и как следствие более высокой проходимостью. Использование планетарных коробок переключения передач набирает все большую популярность. Передаточное отношение устройства будет вытекать из расчета отношения числа зубьев на центральной шестерни к числу зубьев на коронной шестерне. Интересным моментом является расторможение коронной шестерни в коробке. В этом случае передаточное число равняется 1.
Мы сами пробовали этот кусок, и мы должны признать, что функция является совершенным. Изменение происходит мгновенно и очень заметно, поэтому нет необходимости опасаться, что велосипедист спусков проблемы с чрезмерной частотой. В городском движении, это решение с диапазоном 124% и вес 980 г идеала. Таким образом, общая протяженность в том числе кассеты 578%, а вес дискового тормоза версии на 970 граммов делает его одним из самых легких фаворитов. Но уменьшить внутренний механизм, это снова добавляет кассету и переключатель, так что вновь возрастает.
Мотор-редукторы планетарного типа
Это устройство предназначено для использования в роли привода в горизонтальном либо вертикальном положении. Мотор-редукторы исполнены из нескольких модулей. Такая кинематическая схема, включающая сразу мотор и устройство планетарного редуктора, имеет целый ряд значительных преимуществ и позволяет выполнять следующие задачи:
Цена составляет около восьми тысяч стандарта. Нет передач, не сдвигая с небольшой задержкой и ограниченным числом передач. Эта система работает, потому что, как вариатор, так что внутренний механизм работает на основе перемещения больших шаров их орбит, и таким образом позволяет полностью плавное изменение передач.
Силовая передача обеспечивается благодаря упруго-гидро-динамического контента, так что не должно быть никакого существенного трения. Благодаря этому предложению бесчисленные вариации из-за непрерывной передачи признака сдвига на основе вариатора. Интересный вариант представляет собой вариант, где заряд может быть объединен с любым валиком или дисковыми тормозами или выбегом звездочкой. Несмотря на все производитель похвалы должен, за свои собственные испытания, чтобы понять, что переключение передач действительно гладко, но когда сила горки предложение сцепление при переключении передач в общей сложности значительного сопротивления, тем тяжелее райер занимает педаль, тем сильнее сопротивление при трении, что там на самом деле там не должно быть, это чувствует.
- Вырабатывание высоких мощностей при невысоких габаритах;
- Большой коэффициент полезного действия;
- Масса в три раза меньше аналогов;
- Использование для специализированных установок;
- Расчет делать легче, чем у других редукторов;
- Невысокие затраты на обслуживание.
Расчет планетарного устройства
Обсудив в статье уже множество моментов по этому редуктору, стоит перейти и к основным моментам по его расчету перед проектированием. Расчет редуктора производится следующим образом:
Но мы не тестируем вы приносите эту плату отдельно. Его расширение в основном в области электрических велосипедов, возможно, дорогой «имидж» машина. Цена около девяти тысяч принадлежит благодаря конкурентоспособной продукции обратно к стандарту. Если гонщик решит сделать это, он должен рассчитывать на перемещение части веса более назад, что может быть показано двумя способами. Во-первых, он тянет заднее колесо сильнее в воздух, и, если его неравенство в области местности ударит, более тяжелый прикладом будет менее управляемым из-за инерции.
- Определяем число передаточных ступеней;
- Расчет сателлитов и числа зубьев;
- Выбор материала шестерен;
- Определяем межосевое расстояние;
- Проверочный расчет;
- Расчет сил;
- Выбор подшипников;
- Определение толщины колес;
- Вычисление осей шестеренок.
Планетарный редуктор
В современной промышленности планетарные редукторы, в основе которых лежит шестерня солнечная, используются в лебедках и электроинструменте. Наиболее популярным техническим средством, которое есть практически в каждом доме и где может быть использована солнечная шестерня — велосипед с планетарной втулкой.
Сам принцип нескольких зубчатых колес, которые передают энергию движения друг другу, далеко не нов. И даже планетарный редуктор не самое свежее изобретение. Новшеством здесь можно считать лишь то, насколько активно этот принцип работы распространяется в современных приборах и технике самого разного назначения.
Виды редукторов
По виду передач:
- цилиндрические (валы параллельные);
- конические (валы пересекаются);
- червячные (валы перекрещиваются);
- комбинированные (коническо-цилиндрические), валы пересекаются и параллельны.
По числу ступеней:
- одноступенчатые (два вала);
- двухступенчатые (три вала);
- трехступенчатые.
Ступень — одна пара зубчатых колес (передач), обеспечивающих преобразование частоты вращения и крутящего момента.
Число ступеней равно числу валов минус один!
Рассмотрим основные разновидности редукторов:
Цилиндрический редуктор
Цилиндрический редуктор служит для одновременного уменьшения частоты вращения и
увеличения крутящего момента.Цилиндрические редукторы делят на горизонтальные одноступенчатые, и на горизонтальные двухступенчатые. Цилиндрические редукторы применяются при переменной, постоянной, одного направления и реверсивной нагрузке, как при непрерывной работе, так и при работе с периодическими остановками. У цилиндрического редуктора реализовано разностороннее вращение валов. Редукторы этого типа обладают высокой степенью надежности и КПД, но производят высокий уровень шума.
Червячный редуктор
Червячные редукторы, наверное, самый часто используемый тип данных механизмов. Он представляет собой винт с резьбой (червяк), зацепленный с зубчатым колесом со специальным профилем зубьев (червячное колесо). При вращении винта (червяка) его витки при перемещении толкают в том же направлении зубья червячного колеса. Таким образом габариты червячного редуктора ограничены размерами червяка и червячного колеса. Так же данные редукторы отличаются сниженной шумностью и отличной плавностью хода.
Но ему так же присущи и недостатки: нагрев, люфт, пониженный КПД, «самоторможение».
Применение их весьма широко – транспортеры, конвейерные ленты, бетономешалки, насосы. Редукторы используются в автомобилестроении, станкостроении, даже при производстве климатотехники и систем вентиляции применяются различные виды редукторов.
Мотор-редуктор это симбиоз самого редуктора и электродвигателя (иногда также его называют редукторным электродвигателем).
Различают следующие мотор-редукторы предназначенные для использования в промышленности :спироидные, цилиндрические, червячные, цилиндрически-червячные, планетарные, волновые и специального исполнения. Чаще всего в промышленности встречаются следующие мотор-редукторы с соосной схемой расположения редуктора и двигателя – планетарные и цилиндрические. В червячных мотор-редукторах электродвигатель часто расположен под углом 90 градусов к выходному валу.
Выходной вал мотор-редуктора может быть исполнен в различный вариациях: полый с шлицевым отверстием, односторонний или двухсторонний, конический, цилиндрический или муфтовый.
На выбор мотор-редуктора должны, в первую очередь, влиять следующие факторы: как часто будет проводится пуск мотор-редуктора; длительность суточной работы; внешняя нагрузка и частота вращения валов.
Выход из строя
Износ – это основная причина поломки планетарной передачи, которая происходит в основном из-за плохой смазки. Изношенные передачи имеют в зацеплениях увеличенные зазоры, что приводит к усилению шума, вибрации и в конечном итоге уменьшению прочности зуба.
Заедание – поломка высокоскоростных передач. Происходит заедание, так как масленая плёнка выдавливается между зубьями при высоких скоростях.
Излом – вызывается напряжением изгиба. Излом может разрушить вал, подшипники и весь механизм.
Планетарный редуктор применяется там, где нужна точность среднего уровня, и отсутствует необходимость в полном вале. Основная отрасль использования планетарного редуктора – машиностроение, кроме того они применяются в медицинской технике и измерительной аппаратуре.
Технические характеристики
Технические характеристики мотор-редуктора составляют комплекс из отдельных параметров механической части и электродвигателя. Важнейшей характеристикой становятся режим работы механизма. В зарубежной литературе используется подобный параметр, называемый сервис-фактором. Он определяет частоту и уровень механических нагрузок и задается на основе характеристик технологического процесса. Принцип действия редуктора и его передаточное число, позволяют подобрать модель с требуемым типом двигателя для конкретных условий работы. Схема расположения валов позволяет наилучшим образом расположить приводной модуль на оборудовании. Тип выходного вала обеспечивает простоту установки. Важным параметром становится способ крепления мотор-редуктора к технологическому устройству. Встречаются модели с установкой на лапы, фланцевого и комбинированного исполнения.
С целью определения конкретных скоростей выходного вала используют номинальную скорость вращения электромотора. В зависимости от нее, один и тот же редуктор будет обеспечивать разные характеристики. Мощность двигателя определяет нагрузки технологического механизма.
Простые и сложные устройства
Как уже отмечалось выше, схема планетарного механизма всегда включает водило и два центральных колеса. Сателлитов может быть сколько угодно. Это, так называемое, простое или элементарное устройство. В таких механизмах конструкции могут быть такими : “СВС”, “СВЭ”, “ЭВЭ”, где:
- С – солнце.
- В – водило.
- Э – эпицентр.
Каждый такой набор колес + сателлиты называется планетарным рядом. При этом все колеса должны вращаться в одной плоскости. Простые механизмы бывают одно- и двухрядными. В различных технических приборах и машинах они используются редко. Примером может послужить планетарный механизм велосипеда. По такому принципу работает втулка, благодаря которой осуществляется движение.
Гораздо чаще можно встретить сложные зубчатые планетарные механизмы. Их схемы могут быть самыми разными, что зависит от того, для чего предназначается та или иная конструкция. Как правило, сложные механизмы состоят из нескольких простых, созданных по общему правилу для планетарной передачи. Такие сложные системы бывают двух-, трех- или четырехрядные. Теоретически можно создавать конструкции и с большим числом рядов, но на практике такое не встречается.

























































