В чем плюсы переделки
Аккумуляторный шуруповерт по мощности достойно конкурирует с сетевыми аналогами, но только пока зарядка его батарей находится на достаточном уровне. Когда аккумулятор садится — ему необходима подзарядка от сети. Этот фактор является первым недостатком данного электроинструмента.
Внесение изменений даст возможность дальнейшей эксплуатации данного инструмента при минимальном уровне финансовых вложений. Созданная переделка будет обладать всеми преимуществами сетевых устройств:
- отпадет необходимость выполнения периодической зарядки;
- не будет падать мощность электроинструмента (крутящий момент) во время работы;
- не нужно переживать о правильном хранении оборудования при длительных нерабочих периодах: достаточно положить его в кейс в сухом месте.
Эти достоинства, а также маленькие расходы, компенсируют связанные с наличием шнура неудобства.
Чтобы из аккумуляторного шуруповерта сделать сетевой, нужен блок питания (БП), который можно разместить двумя способами: в виде внешнего питающего блока либо вмонтировать внутрь старого аккумуляторного корпуса.

Для практической реализации любого варианта понадобится следующий набор инструментов и материалов:
- отвертки с разными наконечниками;
- отвертки с разными наконечниками;
- плоскогубцы;
- кусачки;
- паяльник с набором для пайки;
- изоляционная лента;
- проводки на перемычки, взятые, например, с многожильного кабеля;
- мультиметр;
- нож.
На что обратить внимание:
- Габариты. Идеально, когда готовый блок питания помещается в пластиковом корпусе от штатной батареи. Никаких проблем в процессе работы шуруповертом.
- Предел по току. Если данный параметр не учитывать, то должного крутящего момента не добиться. Уточнить значение можно по паспорту шуруповерта. При отсутствии оного – по батарее, которым он комплектовался. Как правило, ток выбирается примерно в 1,6 (±0,2) раза больший, чем емкость (в А/ч) аккумулятора.
- Выходное напряжение. Стоит учесть, что при подключении нагрузки у некоторых блоков питания оно может падать на 1 – 2 В. Для использования эл/инструмента непринципиально, но знать следует.
- Тип БП. По оценке специалистов и мастеров-практиков, лучший вариант блока питания для шуруповерта – импульсный. Отсутствие силового трансформатора в схеме снижает вес изделия и уменьшает его габариты. Это самые компактные из всех БП.

Приобретя блок, останется лишь переделать «бокс», в котором помещалась АКБ. Это единственное, что сделать своими руками может даже дилетант.
- Первое. Высверлить в пластике отверстие (проще простого), завести внутрь корпуса провод (шнур) питания и присоединить (припаять) к выводам БП. Самый оптимальный вариант.
- Второе. В проводнике «+» установить п/п диод соответствующей мощности, катод которого – в сторону эл/двигателя шуруповерта.

Тем, кто имеет навыки работы с паяльником и мультиметром, «народные умельцы» предлагают столько схем, что выбрать что-либо подходящее не составит труда. Вот лишь некоторые из всего списка, который нетрудно составить:
- Блоки питания универсальные.
- На основе двух- и трехполюсных резисторов.
- Импульсные.
- С фильтрами.
- Блоки со схемой усиления и ряд других.

Что в подавляющем большинстве у них общего? Кроме импульсных модификаций – понижающий трансформатор, так как речь идет о вторичном (питающем для шуруповерта) напряжении номиналом 18 В. В этом и главная сложность. Подобрать Тр можно, но, к сожалению, на схемах указываются не все параметры радиодеталей. Если обозначена величина сопротивления, то не указана мощность; не все типы полупроводников обозначены и тому подобное. Да и по трансформатору информации практически никакой – сечение проводов, количество витков и так далее. Следовательно, расчеты придется делать самому.


Но даже трансформатор можно изготовить своими руками, при умении и желании. Например, взять его от блока питания старого ПК. Главное, чтобы соответствовал основным требованиям, указанным выше. В зависимости от модификации компьютера могут быть некоторые отличия. Можно использовать и часть схемы диммера светодиодной лампы. Имеются и другие варианты.


Но все это – время + опыт самостоятельного конструирования + теоретические знания. Вот и получается, что приобрести блок питания и/или переделать его, приспособив к работе с шуруповертом, гораздо проще и быстрее. Все другие варианты для человека, который с электрикой/электроникой на «Вы», вряд ли приемлемы, даже если есть схема и ее описание. Ведь придется еще и «травить» плату для размещения всех радиодеталей – многие ли знают, как это делать?

В продаже имеются готовые БП (импульсные) на 18 В, именно для шуруповертов. Их цена невысокая – от 846 рублей. Кто не уверен, что сможет своими руками собрать блок питания, стоит учесть.

Остается добавить, что решение о переходе на питание от БП имеет существенный недостаток – «привязка» к розетке. Но насколько это актуально для бытового шуруповерта? А преимуществ хватает – стабильность крутящего момента, возможность вдохнуть «вторую жизнь» в инструмент, к которому невозможно найти аккумуляторы, и никакого ухода за источником питания. А из чего его можно сделать, какие есть варианты, рассказано довольно подробно.
Решение за вами, уважаемый читатель!
Важна ли мобильность?
После того как аккумуляторная батарея становится неспособной держать заряд, шуруповерт превращается в абсолютно бесполезный инструмент. Покупка нового зарядного устройства нецелесообразна, так как его цена нередко составляет до 50% стоимости новой модели. Поэтому мысль о переделке инструмента под сеть — совершенно оправданное решение.
Есть возможность восстановить характеристики аккумулятора, однако этот вариант все-таки полумера, потому что в дальнейшем ситуация повторится. Однако перед тем как выбрать решение, необходимо обдумать, что делать с мобильностью инструмента. Так ли она нужна? Есть 2 варианта потенциальной модификации шуруповерта:
- Инструмент с внешним блоком питания. В этом случае делают отдельное устройство. Это не так страшно, потому что даже громоздкую конструкцию можно расположить в непосредственной близости от розетки. Однако с ограничением, связанным с длиной кабеля БП и сетевого шнура, придется смириться.
- Шуруповерт с БП, вмонтированным на место аккумулятора. Такой способ модификации даст возможность избежать сборки габаритной конструкции, значительно ограничивающей применение инструмента. Но в этом случае проблему доступа тоже может создать длина сетевого кабеля. Зато использовать в таком качестве можно компактные устройства. Ими смогут стать покупные или имеющиеся блоки питания, если они подходят по характеристикам.
Способы «возрождения» шуруповерта сильно отличаются. Тем не менее, каждый из этих вариантов находит сторонников, так как отвечает разным потребностям хозяев аккумуляторных инструментов, чья эксплуатация внезапно стала невозможной.
Зачем переделывать?
Аккумуляторный шуруповерт имеет массу преимуществ перед устройством сетевого типа. Его можно использовать даже там, где не подведено электричество, можно закрутить крепеж в труднодоступных местах, движения мастера не ограничены длиной провода или удлинителя. Словом, именно этот вариант часто выбирают для домашних работ.
Но аккумуляторный шуруповерт ограничен по времени работы емкостью и качеством установленной батареи. Использовать его можно, пока она не сядет. Причем если аккумулятор вышел из строя и перестал держать заряд или вовсе заряжаться, то и сам шуруповерт работать не будет. Нужно или заменять батарею, или переделывать его в сетевой вариант. В некоторых случаях заменить батарейку и вовсе невозможно. А новая стоит почти столько же, сколько и новый прибор. Конечно, в таком случае большинство людей решат купить свежую модель шуруповерта.
Новый аккумуляор для шуруповерта иногда стоит столько же, сколько новый инструмент
Но, как показывает практика, в некоторых случаях проще и дешевле переделать аккумуляторный шуруповерт в работающий от сети 220 В. Вы дадите инструменту новую жизнь и сэкономите деньги. Единственное ограничение, которое появится у такого обновленного шуруповерта — это необходимость включать его в розетку перед использованием. Зато есть возможность не прерывать работу на время подзарядки АКБ.
Общая схема и ток потребления шуруповертов 12, 14 и 18В
Структурная схема шуруповерта.
Шуруповерты различных производителей построены на разной элементной базе, но структурная электрическая схема у всех примерно одинакова. Электроинструмент состоит из:
- съемного аккумулятора;
- платы управления;
- куркового выключателя, совмещенного с регулятором оборотов;
- переключателя диапазонов регулирования частоты (может отсутствовать);
- электрического двигателя (коллекторного или бесщеточного).
При изготовлении своими руками источника питания для шуруповерта надо обращать внимание на два параметра:
- напряжение;
- номинальный выходной ток.
С напряжением все просто – новый источник питания должен иметь выходное напряжение, равное номинальному напряжению питания электроинструмента. Понижение ведет к потере крутящего момента, повышение – к снижению ресурса. Работа платы управления при пониженном напряжении не гарантируется, при повышенном – вероятен выход ее из строя.
Необходимый рабочий ток определить сложнее. Производители электроинструмента крайне редко указывают потребляемый ток. Немногим чаще указывают мощность в ваттах. Но на шильдиках шуруповертов можно найти следующие данные:
- рабочее напряжение (в вольтах);
- частота вращения (в оборотах в минуту);
- вращаюший момент (в ньютонах на метр).
Эти данные выглядят достаточными для расчета рабочего тока.
Шильдик с электрическим характеристиками шуруповерта DEKO DKCD20FU.
На самом деле не все так радужно. Если задаться данными с реального шуруповерта и попытаться рассчитать номинальный ток, то получится абсурдный результат.
Сначала рассчитывается выходная мощность по формуле:
P=T*RPM/9550, где:
- P – мощность, кВт;
- T – вращающий момент, Н/м;
- RPM – частота вращения, об/мин;
- 9550 – коэффициент, объединяющий перевод из одних единиц в другие.
Для указанных данных получается:
P=42*1350/9550=5,9 кВт.
Эту развиваемую мощность надо разделить на КПД (примерно равный 0,8), в итоге потребляемая мощность равна около 7 кВт. При напряжении 20 вольт аккумуляторы должны отдавать ток 350 А!!! При емкости 2 А*ч батарея разрядится за 20 секунд (если даже теоретически АКБ обеспечит такой ток). Это и есть обещанный абсурд. Причиной этого могут быть лукавые декларации по оборотам или крутящему моменту. Возможно, наибольший крутящий момент выдается только при определенной частоте вращения, но даже если ее знать, то практического смысла будет мало. Ведь шуруповерт работает на разных частотах.
Поэтому ориентироваться нужно на следующие цифры, полученные экспериментальным путем:
- холостой ход – 1..2 ампера;
- средняя нагрузка – 4..6 А;
- максимальная нагрузка – 8..11 А;
- броски тока при полном торможении – до 30 А.
Уточнить эти цифры для конкретного шуруповерта можно, замерив реальный потребляемый ток на разных режимах, собрав для этого несложную схему и погоняв электроинструмент на различных нагрузках.
Схема измерения тока потребления.
А можно не уточнять, а ориентироваться на цифры, указанные выше. Блок питания понадобится на наибольший ток 10 А (но никак не меньше 5..6), желательно с защитой от сверхтока.
Техника безопасности
Место для работы при переделке устройства должно быть достаточно освещенным. Наиболее эффективны лампы дневного освещения или светодиодные одновременно с дневным светом, падающим из окна слева. Блики или прямое попадание света в глаза нужно исключить.
Чтобы избежать удара электрическим током, лучше беречься от контакта с заземленными предметами, это батареи отопления, газовые плиты. Рабочий стол, стул, пол не должны иметь токопроводящих поверхностей.
При работе с радиодеталями нужно проверять отсутствие на них напряжения, для этого подойдет индикаторная отвертка. После отключения от электропитания нужно снять заряд с конденсаторов цепей. Заряд снимать, например, вольтметром.
Подключение оборудования производить только после проверки прочности соединений. Проверять лучше не только визуально, но и механически.
Рабочее место должно быть проветриваемым или снабжено вытяжкой.
- https://amperof.ru/elektropribory/peredelka-shurupoverta-pitanie-ot-seti.html
- https://metmastanki.ru/peredelat-akkumulyatornyy-shurupovert-v-setevoy
- https://100uslug.com/neskolko-sposobov-peredelat-akkumulyatornyj-shurupovyort-v-setevoj/
- https://kraska.guru/instrumenty/elektro/kak-perevesti-akkumulyatornyj-shurupovert-na-pitanie-ot-seti.html
- https://tehnika.expert/dlya-remonta/shurupovert/peredelka-akkumuljatornogo-na-setevoj.html
- https://tool-and-tools.ru/dreli-i-shurupoverty/peredelyvaem-shurupovert-na-setevoj.html
- https://100uslug.com/kak-sdelat-shurupovyort-napryamuyu-ot-zaryadki/
- https://CleverDIY.ru/kak-sdelat-shurupovert-ot-seti-svoimi-rukami
- https://DomZastroika.ru/instrumenty/kak-peredelat-akkumuljatornyj-shurupovert.html
- https://intehstroy-spb.ru/elektroinstrument/peredelka-shurupoverta-na-pitanie-ot-seti.html
- https://my-class.ru/kak-podklyuchit-shurupovert-napryamuyu-k-yego-zaryadnomu-ustroystvu/
- https://morflot.su/podkljuchenie-shurupoverta-k-zarjadnomu-ustrojstvu/
- https://m-strana.ru/articles/peredelka-shurupoverta-na-pitanie-ot-seti/
- https://MegaBattery.ru/articles/info/zaryadnye-ustrojstva-shurupovertov/mozhno-li-podklyuchit-shurupovert-napryamuyu-k-zaryadke/
Обновление от 28.12.2019
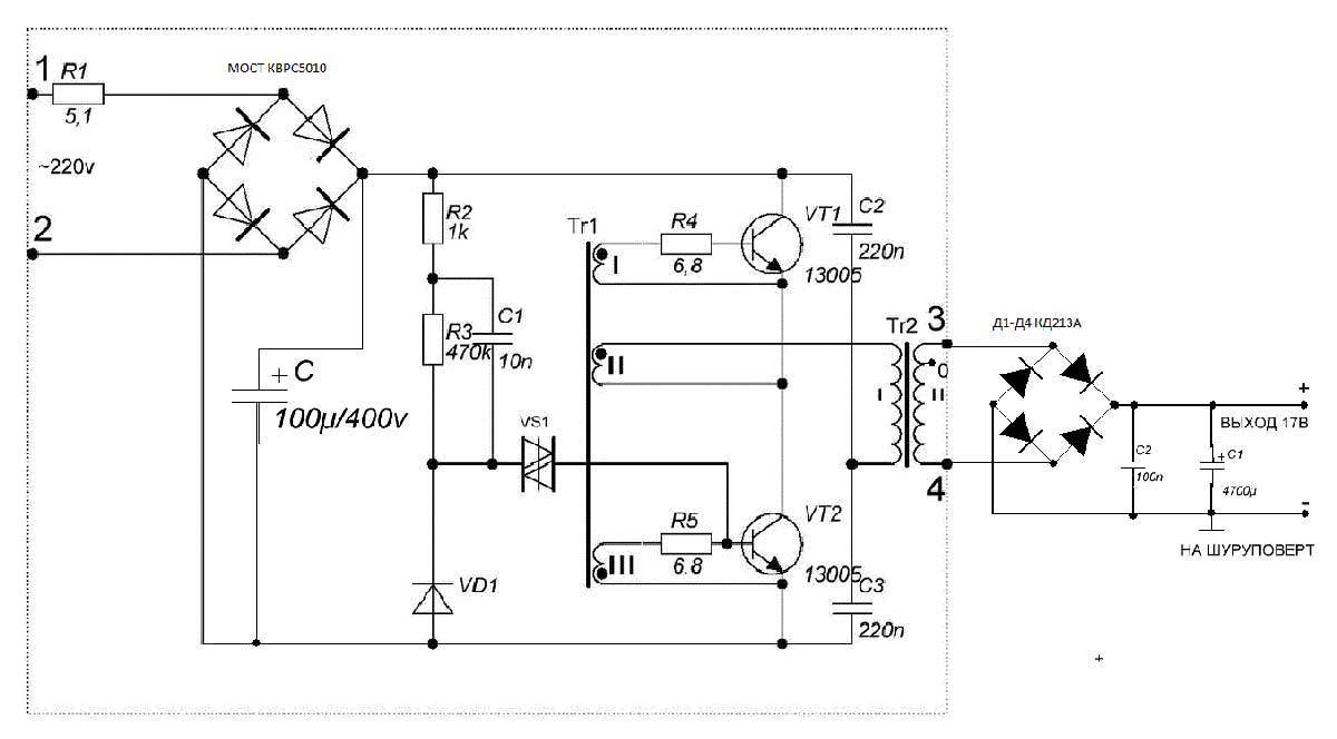
Блок питания очень мощный, вполне справляется с долгим сверлением. В реализации без ОС по напряжению, блок может быть подключенным к сети хоть целые сутки — нагрева нет.
Однако в процессе эксплуатации на объекте выявился существенный недостаток: при заклинивании вала двигателя могут перегорать силовые ключи. У меня всегда вылетал «минусовой» транзистор (нижний по схеме), а второй оставался целым.
Так как заклинивание вала эквивалентно короткому замыканию на выходе БП, нужно принять меры, устраняющие это явление. Посмотрим на работу аккумуляторного инструмента — за счет «мягкой» вольт-амперной характеристики (ВАХ) батареи, при слишком больших нагрузках и заклинивании просаживается напряжение, в следствии чего уменьшается и ток.
Опытов еще не проводил, но считаю полезными меры по «смягчению» ВАХ: 1. Вторичную обмотку силового трансформатора нужно мотать «кучнее», без разнесения по всему кольцу. 2. Номинальное напряжение на выходе (под нагрузкой лампы 30 Вт, например) снизить на несколько вольт путем уменьшения числа витков вторички. То есть если шуруповерт на 14,4 В, то подобрать напряжение на выходе БП 9-10. Вполне возможна просадка мощности вращения после таких манипуляций, тут следует найти оптимальный вариант.
Делать защиту в «горячей» части блока считаю неактуальным, ибо при больших нагрузках защита будет часто срабатывать и потеряется удобство в работе. Все-таки меры по «смягчению» ВАХ мне кажутся более приемлемыми.
Будет очень интересно узнать ваш опыт, если будете собирать схему и пытаться сделать «мягким» заклинивание вала. Контакты в подвале сайта.
Оцените публикацию:
Currently 4.59
Оценка: 4.6 (22 голосов)
Разнообразные блоки питания для электроинструмента
Вы можете сделать блок питания для шуруповёрта своими руками, а можете купить готовый вариант на блошином рынке. Народные умельцы предлагают БП с уже подсоединёнными разъёмами, которые вставляются в гнездо АКБ. После этого инструмент начинает работать от сети.
При отсутствии под рукой розетки можно воспользоваться автомобильной аккумуляторной батареей. В этом случае необходимо соединить контакты шуруповёрта с контактами АКБ, используя специальные зажимы. Однако такой вариант рекомендуется использовать только в крайнем случае, так как мощности автомобильной батареи недостаточно. Обычно выдаваемое напряжение не превышает 11–12В, а чтобы работать шуруповёртом требуется не менее 18–19В.
Многие используют для подключения инструмента компьютерные блоки питания
Распространённый вариант среди радиолюбителей – это элементы АТ-типа, используемые для питания компьютеров. Плюсом является то, что к таким устройствам прилагается подробная спецификация, поэтому не придётся самостоятельно высчитывать силу тока и другие параметры. Внутри него имеется всё необходимое для стабильной работы: диодная сборка, трансформаторы, силовые транзисторы. Остаётся только правильно подключить его к питающим контактам шуруповёрта.
Наиболее эстетичный вариант – это подключение электроинструмента напрямую к сети при помощи вилки на гибком кабеле. Однако провод нельзя напрямую подвести от контактов к вилке. Чтобы сделать функциональный и безопасный сетевой прибор, потребуется отдельный БП или трансформатор с выпрямителем. В данном случае подойдёт любая модель, если её характеристики соответствуют требуемым параметрам. Такой способ сборки больше подходит для опытных мастеров, потому что нужно точно рассчитать количество витков и диаметр проволоки.
Если хочется сохранить удобство и мобильность, тогда подойдёт увеличение ёмкости аккумулятора. Необходимо найти батарею от любой техники, например, ноутбука. Обычно они достаточно мощные и способны поддерживать работоспособность на протяжении нескольких часов.
Выполняем следующие действия:
- Разбираем корпус устройства, извлекаем батарею.
- Соединяем проводку новой батареи со старой, строго соблюдая полярность.
- Скрепляем провода с помощью изолирующей ленты или спаиваем паяльником.
- Включаем электроинструмент, проверяем его работоспособность.
Кабель для зарядки устройства нужно подводить отдельно, поэтому нужно прикрепить штекер. Если всё соблюдено правильно, то шуруповёрт сможет работать от АКБ, а заряжать его можно как обычный ноутбук, воткнув вилку в сеть.
Вне зависимости от выбранного способа нужно помнить, что характеристики устройства поменялись. При работе от сети максимальный крутящий момент достигается не сразу, а через некоторое время. Увеличившаяся мощность приводит к быстрому нагреванию, поэтому следует каждые 15–20 минут давать небольшой отдых. При эксплуатации переделанного инструмента не стоит забывать о технике безопасности, поэтому обязательным условием является качественная изоляция и заземление.
Из-за нарушенной герметичности корпуса увеличивается интенсивность загрязнения, поэтому следует регулярно прочищать его от пыли. Внутрь также может попасть влага, особенно при работе на открытом воздухе. Соблюдение простых правил защитит от неприятных происшествий и существенно продлит срок службы электрического инструмента.
Сборка исправной батареи из двух, потерявших ёмкость
Из двух неисправных устройств можно собрать одно, пригодное к эксплуатации.
Важно! Подключив к корпусу неисправного аккумулятора блок питания, второй отремонтированный обеспечит мобильность при выполнении небольших объёмов работ
Поиск неисправных элементов
Аккумуляторная батарея собрана из отдельных элементов. Они выходят из строя не одновременно, но даже один неисправный элемент ухудшает работу всей батареи.
Для определения потерявших ёмкость частей необходимо:
- зарядить аккумулятор;
- поработать до потери мощности;
- разобрать батарею;
- замерить напряжение на каждом элементе в отдельности.
Батарейки, на которых напряжение будет заметно меньше остальных или вообще отсутствовать, необходимо заменить.
Ремонт аккумулятора
После определения и удаления неисправных частей, из оставшихся собирается устройство, пригодное к дальнейшей эксплуатации. Соединение производится пайкой, проводами сечением 1,5мм² или полосой, аналогичной той, которой детали соединялись раньше.
При недостаточном количестве исправных элементов докупаем недостающие или переделываем инструмент на сетевое питание 220 вольт.
Знание того, как переделать аккумуляторный шуруповерт в сетевой своими руками, поможет сохранить деньги и не приобретать новое устройство.
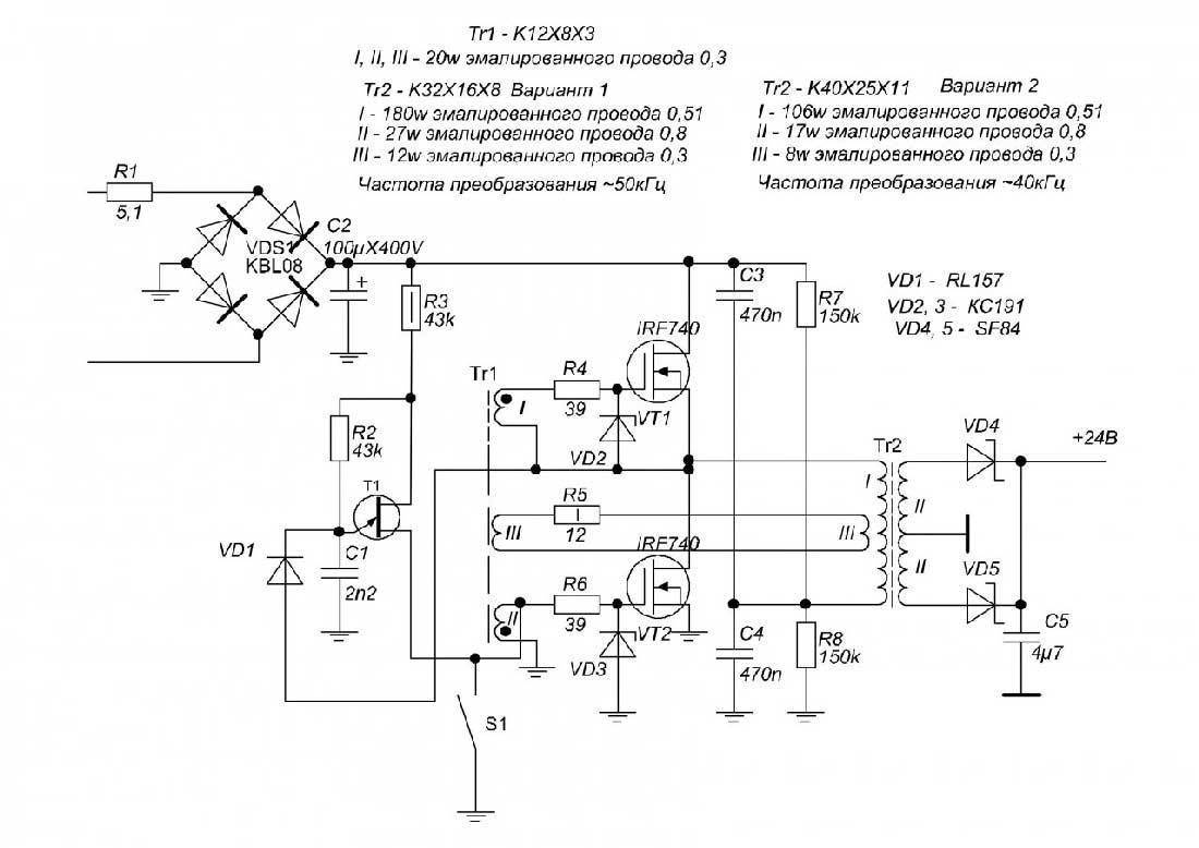
Трансформатор для шуруповерта 12 В

Зная элементарные принципы электрической схемы трансформаторов, можно самому смастерить источник питания. Наиболее распространенная схема изображена на рисунке.

Трансформаторный выпрямитель подбирается в зависимости от мощности (обычно по 220 вольтам это составляет 250–350 ватт). Такой трансформатор имеется в старой ламповой технике. Правда, старые блоки хоть и подходят для переделки, но они громоздки, тяжелы и обладают низким КПД. Разность потенциалов на выходной обмотке должно быть 18–20 вольт. Вторичная обмотка выполняется из провода, отличающегося от сечения первичной обмотки. Естественно, шнур, идущий на шуруповерт, должен быть большего сечения, по сравнению с проводом на 220 В. Вторичный ток составляет не меньше 14 А. После потери напряжения на диодах (56 вольт) получается требуемое напряжение на выходных клеммах.
Основной задачей является перепайка проводов от соединяющих контактов трансформатора к клеммам электроинструмента. В итоге ток пойдёт сразу на них, позволяя запускать мотор при нажатии кнопки.
Есть еще неплохой вариант с применением блоков питания от персональных компьютеров. В радиомагазинах можно недорого купить подержанный блок питания от старого компьютера. Только чтобы обязательно у компьютера был параметр АТ, который выключался кнопкой после завершения работы операционной системы. Специалисты со стажем знакомы с такими системными блоками. Преимущество этого блока питания заключается в том, что у него написан правдивый реальный показатель мощности. Если уж было указано 250–300 ватт, то это означало наверняка получить 12 вольт и 14–15 ампер выхода. А это полностью подойдет для электропитания обычного шуруповерта.
У подобных устройств имеется встроенная кнопка включения, есть охлаждающий вентилятор, идеальная система, защищающая от перегрузок. Можно спрятать источник питания в изящную оболочку, но не стоит забывать о вентиляционных отверстиях.
В общем, есть много способов превратить шуруповерт от уже севших аккумуляторов в сетевой инструмент. Нужно только должным образом разобраться, что для этого больше подходит.
Какой ток потребляет шуруповерт
Прежде, чем подбирать подходящий блок питания, нужно понять, на какой потребляемый ток нужно рассчитывать. К сожалению, производители аккумуляторных шуруповертов не указывают ток, потребляемый двигателем. Емкость самого аккумулятора в ампер-часах, которая обязательно указанна на батарее, не позволяет понять какой ток потребляет шуруповерт в рабочем режиме. Максимум, что может указать производитель, это мощность в ваттах, но это бывает очень редко, обычно мощность указанна непосредственно в силе крутящего момента.
Если мощность в ваттах все-таки указанна, мы можем иметь представление о потребляемом токе и подобрать соответствующий блок питания с небольшим запасом по току/мощности. Для вычисления силы тока достаточно разделить мощность в ваттах на рабочее напряжение шуруповерта, в данном случае это 12 вольт. Итак, если производитель указал мощность например 200 ватт – 200_12=16,6 А – такой ток потребляет шуруповерт в рабочем режиме.
Однако указанная мощность это большая редкость и нет универсальной цифры, характеризующей все 12-ти вольтовые шуруповерты. Нужно понимать, что при полном торможении вала двигателя, токи могут значительно превышать номинальные и вычислить эту величину очень не просто. В то же время, анализ различных форумов и собственного опыта показали – для работы шуруповерта зачастую достаточно тока в 10 А, этого достаточно для выполнения многих функций закручивания и сверления. При этом известно, что броски тока при полном торможении вала могут превышать 30 А.
Ну и какой же вывод можно сделать из всего этого? Для шуруповерта подойдет блок питания 12 В дающий 10 А тока, если имеется возможность использовать блок 20-30 А, это даже лучше. Это среднестатистические цифры, применимые к большинству шуруповертов.
Советы по использованию
Эксперты изменения шуруповертов, которые с легкостью справляются с установленной задачей, советуют начинающим следовать определенным правилам:
- Сетевой шуруповерт в состоянии функционировать несколько часов подряд, поэтому давайте ему пятиминутные передышки для предохранения от перегрузок.
- Провод должен крепиться в области локтя для предотвращения помех при работе.
- Блок питания систематически надо чистить от пыли и грязи.
- Аккумулятор (новый) предусмотрен заземлением.
- Не рекомендовано употреблять большое количество удлинителей.
- Не применять шуруповерт при высотных работах (начиная от двух метров и выше).
Следование данным советам поможет сохранить инструмент в рабочем состоянии и продлит его срок эксплуатации.
Ток шуруповерта, измерение.
Питаться он будет от того же блока питания:
Для начала измеряем ток холостого хода при медленной скорости:

Слева значения тока в Амперах, справа напряжение в Вольтах.
Затем ток холостого хода на быстрой скорости:

Теперь измеряем ток при максимальной нагрузке, когда срабатывает трещетка:

На фото установившееся значение, хотя кратковременные броски немного превышали 6А. Защита блока питания не срабатывала. Сказывалось сопротивление проводов которыми шуруповерт соединен с блоком питания (около 2м).
При повороте регулятора вращающего момента до максимума и максимальной нагрузке, когда трещетка уже не срабатывает, двигатель останавливается, ток достигает почти 10 А и отключается блок питания. Это недопустимый режим работы.

Но, остановленный двигатель для блока питания, это практически короткое замыкание. Как известно, ток короткого замыкания остановленного двигателя определяется чисто омическим сопротивлением обмотки и может достигать очень больших значений, пока не сработает защита блока питания. Если блок питания мощный и его защита срабатывает на токах 20-30 А, то сгорит провод обмотки двигателя. Как было указано в предыдущей статье максимальный ток двигателя этой модели шуруповерта 4 А, диаметр провода его обмотки около 0,5мм.
Ток 10 А это уже более чем в два раза выше допустимого, не говоря о токах 20-30 А.
Вывод тот же, нет смысла в блоках питания на 20-30 А для питания шуруповертов у которых двигатель рассчитан на максимальный ток 4А. Нельзя эксплуатировать шуруповерт нагружая его до остановки двигателя отключив трещетку.
Если двигатель у шуруповерта другой, большей мощности, на большие токи — то под него и нужно подбирать блок питания.
Материал статьи продублирован на видео:

























































